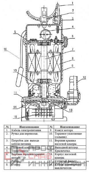
Данные центробежные погружные насосы предназначены для перекачивания чистой воды из колодцев, резервуаров, скважин, для использования в домашнем хозяйстве, гражданских индустриальных областях, садоводстве, поливе и т. д. Они отличаются компактными размерами, легким весом и удобством в использовании.
| Номинальный диаметр (DN), мм | 25 |
| Серия | QDX |
| Габариты в упаковке, см | 41.5x23x20.5 |
| Масса брутто, кг | 10 |
| Максимальная температура перекачиваемой жидкости, °С | 40 |
| Конструкционный тип | Вертикальный |
| Максимальная потребляемая мощность, Вт | 550 |
| Вид насоса | Центробежный |
| Тип насоса | Погружной |
| Количество насосов | Одинарный |
| Напряжение питания, В | 210..240 |
| Максимальный расход Qmax, м³/ч | 6 |
| Максимальный напор, м.вод.ст. | 22 |
| Частота тока, Гц | 50 |
| Присоединение на напорной стороне | G 1 |
| Присоединение на всасывающей стороне | G 1 |
| Перекачиваемая жидкость | Вода |
| Вал (материал) | Нержавеющая сталь |
| Класс нагревостойкости изоляции | B |
| Класс защиты | IP 54 |
| Наличие частотного преобразователя | Нет |
| Максимальная глубина установки, м | 10 |
| Наличие поплавкового выключателя | Есть |
* Не является публичной офертой, в соответствии с Соглашением об использовании сайта. Фактическую цену, актуальное наличие, а также иные детали уточнит наш менеджер при рассмотрении Вашей заявки.